| Volume | 800 l |
| Tank working pressure range | 0 - 13 bar |
| Tank operating temperature range | 0 - 95 ° C |
| Working pressure in the heat exchanger | 3-16 bar |
| Maximum heating medium in the heat exchanger | 200 ° C |
| Materials (edit) | CSE — carbon steel with food-grade enamel interior |
| Heat exchanger / heater | HHW— (heat exchanger helical welded) spiral (helical) welded heat exchanger |
| Connection | Heating element connection Solar collector connection Solid fuel boiler connection Gas boiler connection Electric boiler connection |
| Accession | flanged / threaded / clamped / welded; according to GOST, ISO, DIN standards |
| Insulation | Soft polyurethane (40-200mm), rubber + removable leather / fabric cover |
| Corrosion protection | Magnesium anode |
| Accommodation | vertical / horizontal; |
| Support | Adjustable / non-adjustable |
| Certification | TU U 28.9-30521500-005-2017 ISO 9001 |
| Model | Volume, l | Diameter, mm | Height, mm |
| OPEKS-2-800-CS-HHW2,2.3L | 800 | 910 | 2015 |
Accumulation tanks represent a vertical (or horizontal) welded structure, consisting of a cylindrical shell, upper and lower (left and right) elliptical bottoms, a fitting for supplying and removing the working medium and drainage of the system, as well as a fitting according to the project or at the request of the customer. Supports are welded to the lower bottom (shells - in horizontal design) for reliable installation on site.
Storage tanks are used as heat or cold accumulators, buffer tanks, water heaters. OPEKS -2 models are designed for: heating, accumulation of thermal energy in the form of hot water, hydraulic isolation of flows in the circuits of technological systems of industrial enterprises, hot water supply and heating systems, storage and transfer of excess heat received from the source (electric boiler, solid fuel boiler , heat pump, solar collectors, solar systems) with the ability to connect several sources of thermal energy.
- increase in the service life of the heating system;
- reduction of fuel consumption by 30-40%;
- increase in the service life of the heating system;
- reducing the risk of boiling a solid fuel boiler;
- the ability to maintain a constant temperature;
- combining different types of heat energy;
- extension of the interval between boiler cleanings, easy installation into the existing heating system.
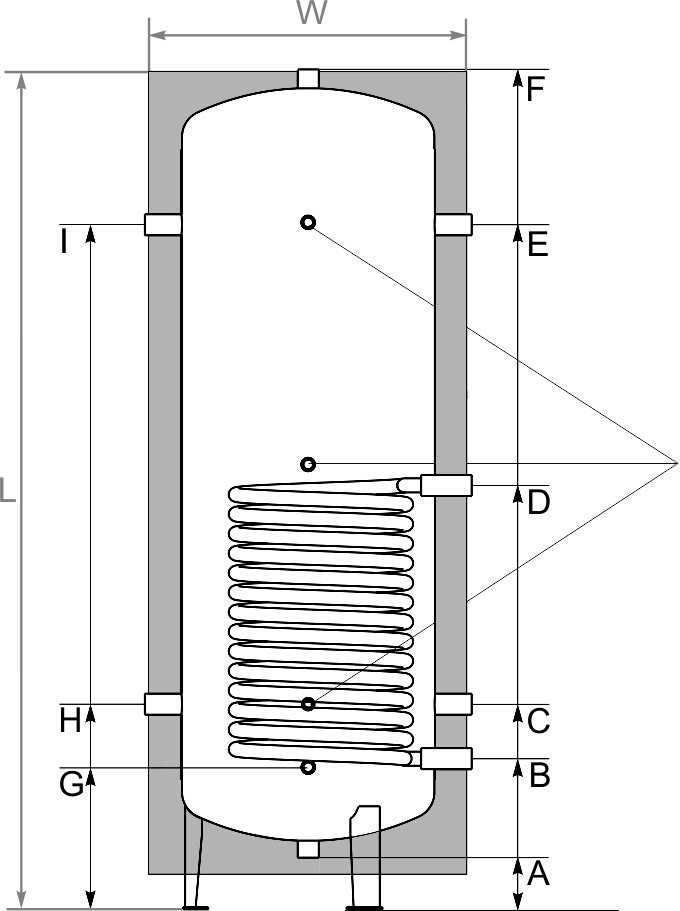
| characteristics of the unit | Diameter to input | Od.vim | 800 |
| A - Vodi's resentment | 1 1/4 " | mm | 95 |
| B - Incoming flow (lower heat exchanger) | 1 1/4 " | mm | 355 |
| C - Return from the system | 1 1/4 " | mm | 485 |
| D - Output flow (lower heat exchanger) | 1 1/4 " | mm | 888 |
| E - Supply to the system | 1 1/4 " | mm | 1625 |
| F - Group of safety | 1 1/4 " | mm | 2015 |
| G - Technical malice of water | 1 1/2 " | mm | 335 |
| H - Return to the boiler | 1 1/4 " | mm | 485 |
| I - Boiler feed | 1 1/4 " | mm | 1625 |
| T - temperature sensors | 1/2 " | mm | |
| L - Visota | mm | 2015 | |
| W - Width (Diameter) | mm | 910 | |
| masa | Kg | 196 |
| Characteristics of the lower heat exchanger | Od. wim | 800 |
| Area | m 2 | 1.6 |
| obsyag | l | nine |
Note.
Tank / boiler dimensions are specified for the standard model with a 6 bar working vice. You can get non-standard models with the same parameters for custom chairs.
To select the required storage volume, it is possible to combine several tanks into a cascade.
The storage tank is selected for the previously selected heat source and is calculated in such a way that it can accumulate all the heat generated by this source, or for the consumer of which it should be provided with heat generated before the time of heat consumption by a low-power source.
The priority in the selection of the capacity will be the source if its power or the time of heat input is limited.
The priority in the selection of the capacity will be the consumer, if it is required to cover a given heat load in a certain time.
The additional volume of water formed during heating to the maximum temperature is ~ 3.5% of the nominal volume of the container.
- vertical / horizontal placement;
- security group;
- level / temperature / pressure sensors;
- thermoelectric heater;
- heat exchanger;
- insulation in the cold;
- cathodic protection;
- service;
- inspection hatch; leather / fabric cover;
- development of individual equipment *
Delivery
- Pickup from a warehouse in Kiev - is free
- New Mail - at the rates of the delivery service, at the rates of the delivery service, at the rates of the delivery service
- SAT - at the rates of the delivery service
- Deliveri - at the rates of the delivery service
Payment
- Cashless payment with VAT
- Online Privat24, Visa / MasterCard

