| Модель | GP-27 | |
| Применение | Пар | |
| Давление на входе | 0.1-1.0 МПа | |
| Пониженное давление | 0.03-0.8 МПа | |
| Не более 80% давления на входе (избыточного давления) | ||
| Мин. дифференц. давление | 0,07 МПа | |
| Макс. коэф. понижения давления | 10:1 | |
| Максимальная температура | 220 °C | |
| Утечки через седло клапана | Не более 0,05% номинального раcхода | |
| Материал | Корпус | Ковкий чугун |
| Глав. клапан, седло клапана | Нержавеющая сталь | |
| Пилотный клапан, седло пилотного клапана | Нержавеющая сталь | |
| Плунжер, цилиндр | Бронза | |
| Мембрана | Нержавеющая сталь | |
| Соединение | Фланцевое соединение JIS 10K FF | |
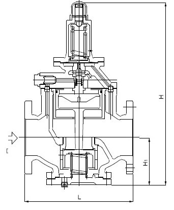
Клапан с «пилотным» управлением плунжерного типа для универсального применения. Высокая надежность с продолжительным опытом применения.
- Высокая производительность и отменные рабочие характеристики. Немедленно реагирует на колебания входного давления и изменение расхода, поддерживая пониженное давление на постоянном уровне.
- Просто конструкции, редко отказывает, легко обслуживается.
- Удобная регулировка давления и широкий диапазон установок давления.
- Нет необходимости в дополнительных источниках энергии (воздух или электричество). Компактность облегчает работу сантехники.
- Соответствует стандарту Общества инженеров по отоплнию, кондиционированию воздуха и санитарной технике в Японии SHASE-S106 по редукционным клапанам.
| Номинальный размер | L | H | H1 | Вес |
|---|---|---|---|---|
| 125А | 375 | 627 | 162 | 90.0 |
| 150А | 420 | 686 | 190 | 135.0 |
| 200А | 490 | 765 | 220 | 204.0 |
График подбора технических характеристик
На основании приведенной выше диаграммы выберите наиболее подходящий редукционный клапан. На диаграмме найдите точку пересечения входного давления (Р1) и пониженного давления (Р2). Двухступенчатое снижение давления требуется, если точка пересечения значений находится в пределах диапазона (А); давление контролируется одним редукционным клапаном, если точка пересечения находится в пределах диапазона (В). В данном диапазоне клапан не срабатывает (С). Если давление понижается в два этапа, обеспечьте между редукционными клапанами расстояние не менее 3 метров.
График характеристик давления
На данном графике показано изменение пониженного давления, когда давление 0,3 МПа на входе клапана начинает колебаться в пределах от 0,3 МПа до 1,0 МПа, в то время как пониженное давление устанавливается на отметке 0,2 МПа.
График характеристик расхода
Диаграмма подбора номинальных размеров (для пара)
Пример
При выборе номинального размера редукционного клапана при давлении на входе (Р1), пониженном давлении (Р2) и расходе пара 0,6 МПа, 0,4 МПа и 8000 кг/ч, соответственно, сначала найдите точку пересечения (а) линий давления на входе 0,6 МПа и пониженного давления 0,4 МПа, От данной точки проведите линию вниз до пересечения с линией, соответствующей расходу 8000 кг/ч — точка пересечения (5). Так как точка пересечения (Б) лежит между размерами 125А и 150А, необходимо выбрать больший из двух — 150А.
*Коэффициент запаса следует принять равным 80-90 %.
Доставка
- Самовывоз со склада в Киеве - бесплатно
- Новая Почта - по тарифам службы доставки, по тарифам службы доставки, по тарифам службы доставки
- SAT - по тарифам службы доставки
- Деливери - по тарифам службы доставки
Оплата
- Безналичный расчет с НДС
- Онлайн Приват24, Visa/MasterCard
